
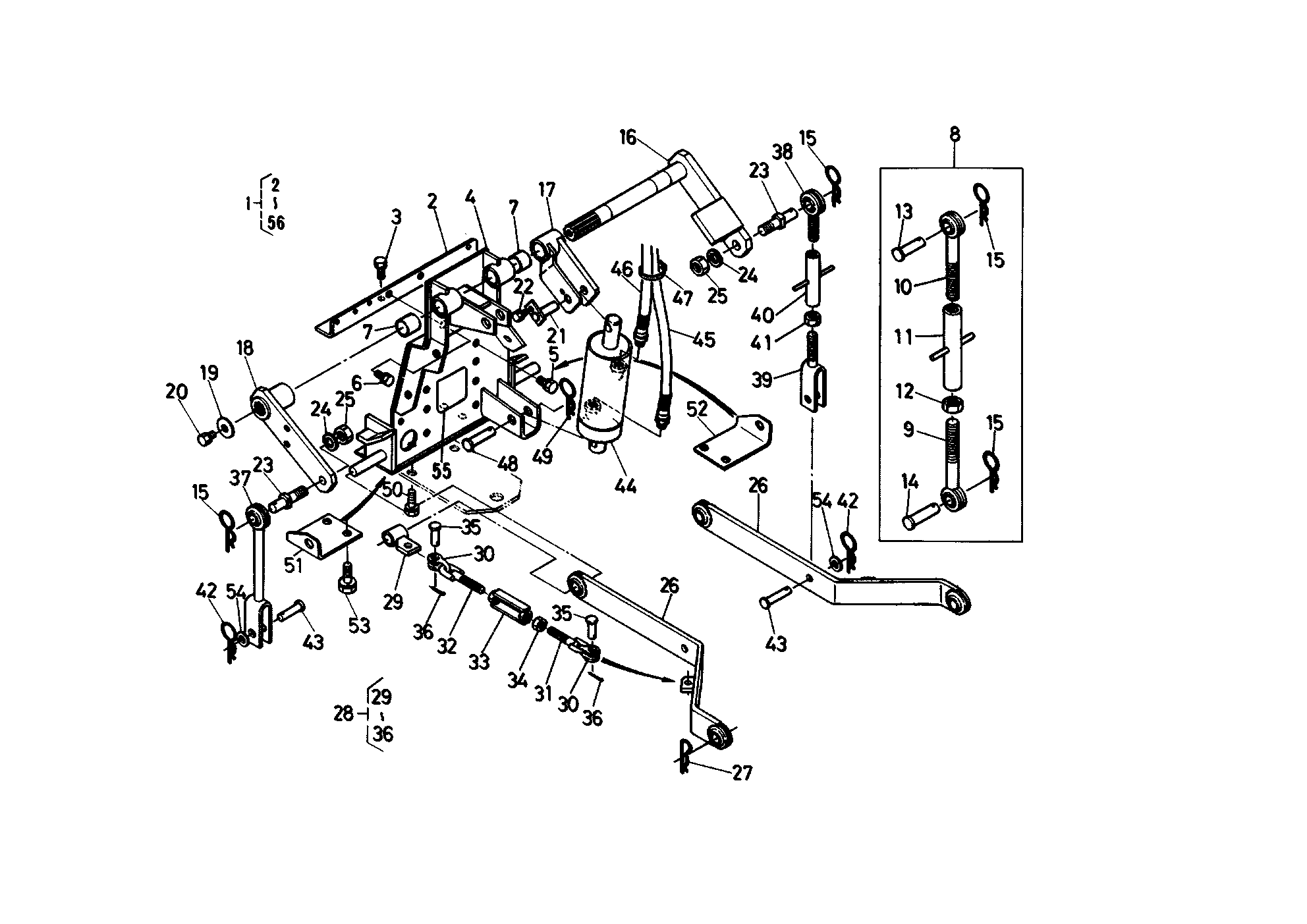
Kubota G3200 G4200 G4200H G5200H G6200H Parts Diagram Manual
Kubota G3200 G4200 G4200H G5200H G6200H Lawn Garden Tractor Operator Manual, Operator Manual is an electronic version of the best original manual.
Download: Kubota G3200 G4200 G4200H G5200H G6200H Parts Catalog Manual

